九游体育(中国)官方网站

您现在的位置:九游体育(中国)官方网站 >> 全部产品 >> ZTZ系列塔式种子烘干机 >> ZTZ系列塔式干燥机
  • 商品名称:ZTZ系列塔式干燥机
  • 商品编号:01
  • 上架时间:2012-01-01
  • 浏览次数:10598

一、工作原理
  谷物经清选后,由提升机送至谷物干燥机储粮段,由料位器自动控制上粮,粮食在干燥机内运行方向与 热风(冷风)流动方向成混流,实现预热、干燥、缓苏、干燥、冷却的整个过程,排粮采用无级调速,可以 随意控制产量和降水幅度,从而达到理想的干燥效果,最后由排粮机送出。
二、使用范围
  适用于粮食、玉米、水稻、大豆、小麦、淀粉、制药、饲 料、制酒、油菜籽等行业的谷物干燥作业。
  主塔结构:由储粮段、干燥段、缓苏段、干燥段、缓苏 段、 冷却段、排粮机构组成。
三、特点
  高效、节能、安全、可靠;干燥产品优质均匀,无污染, 可调性好,占地面积小;操作、维修、运输方便;风温自动数 字显示,料位自动控制,积木结构,水分自动数字显示。 
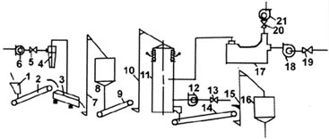
四、TZH型系列粮食干燥机典型工艺流程图

 

  
1.料斗 2.皮带输送机 3.筛分机 4.除尘器 5.风量调节器
6.风机 7.提升机 8.前储仓 9.皮带输送机 10.提升机
11.干燥机 12.冷风机 13.风量调节器 14.皮带输送机
15.提升机 16.后储仓 17.热风炉 18.热风机 19.风量调节器 20.风量调节器 21.引风机

 

五、技术参数表
说明:
1.表中参数均以烘干玉米为准;
2.表中所给装机容量,视配套而定,小时耗煤量,随降水幅度及实际条件而波动;
3.表中耗煤为标准煤;
4.根据用户需求,本公司可为用户提供各种规格型号的粮食(种子)干燥机成套系统产品
 

型号TZH-120TZH-150TZH-200TZH-250TZH-300TZH-400TZH-500
处理量t/d120150200250300400500
装机容量70.377.3114.3142.2172.2208.7220.7
降水幅度%12-14
热风温度℃<120可调整
耗煤量kg/h(标煤)228285342452570684912
主塔外形尺寸m×m×m4.2*3.1*144.2*3.1.154.2*3.1*174.2*3.1*194.2*3.1*214.2*3.1*244.2*3.1*23
主塔高度m14151719212423


地址:辽宁省铁岭市银州区汇工街98号  电话:024-74565289 74501618  传真:024-74564979  mail:tljdjx@163.com

辽ICP备12000599号-1

版权所有:九游体育(中国)官方网站-九游 sports